Patent registration is an integral part of the creation of any new device in the field of IT- technologies. And Apple is one of the leaders regularly submit applications to the U.S. Patent Office .

" Who was the first rose, and sneakers " - is the motto is in the process of patenting new technologies leading companies seeking to protect their innovative products from infringement by competitors .

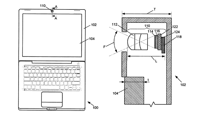
Apple recently received approval for registration of technology "dual sensor " camera smartphone.
Thanks to the invention , Apple is planning to not only significantly improve the quality of mobile photography, but also to achieve an even greater reduction in thickness of the smartphone . According to the developers , the use of two sensors in the camera will revolutionize . Thus, the first sensor will be responsible for metering and the second - to handle the color data . Then the data will be joined into a single picture . Technology promises to improve clarity , brightness and color photographs.
Moreover, thanks to two sensors and camera module , may significantly reduce digital noise in low light conditions and shooting conditions are far from ideal . Sensors themselves will be much less than it is now on the market.
Apple claims that her invention has no analogues. However, a few days ago , HTC has announced a smartphone M8, the main feature of which was UltraPixel- camera . In HTC brainchild and secondary camera is used , which acts as a depth gauge , allowing you to create three-dimensional effects of mobile photography .
Asking Apple technology , judging by the illustrations placed in the document will be used as smartphones , laptops and company.
No comments :
Post a Comment